Москва: +7 (495) 134-29-44
Санкт-Петербург: +7 (812) 213-07-12
Заказать звонок
МЕНЮКАТАЛОГ
ИНТЕРНЕТ-МАГАЗИН "СЕКТОР СБ" ПОСТАВКА СИСТЕМ БЕЗОПАСНОСТИ И СВЯЗИ
0Корзина пуста

ALM-FM-M22-M ALEKO Взрывозащищенный электромагнитный замок

ALM-FM-M22-M Взрывозащищенный электромагнитный замок
Взрывозащищенный электромагнитный замок ALM-FM-M22-M
Взрывозащищенный электромагнитный замок ALM-FM-M22-M
Артикул: sb29252
Производитель: ALEKO
Розничная цена:50 330 ₽/шт.
Оптовая цена:50 330 ₽/шт.

Доставка: по всей России (со склада в Москве или Санкт-Петербурге)

Задайте вопросы менеджеру:

Москва: +7 (495) 134-29-44

СПб: +7 (812) 213-07-12

Взрывозащищенный электромагнитный замок ALM-FM-M22-M производства российской компании ALEKO используется при построении СКУД или ОПС во взрывоопасных зонах. Замок служит для надежной блокировки дверей. Взрывозащитная маркировка 1Ex mb IIC T4 Gb X / Ex mb IIIC T80°C Db X. Допускается эксплуатация в опасных по взрывам локациях классов 1, 21, 2 и 22, за исключением шахт, опасных по рудничному газу и/или горючей пыли.

Выдерживает усилие на взлом 250 кгс, класс U3 согласно ГОСТ Р 58822-2020. Нормально-открытый, без питания замка дверь находится в свободном состоянии, но при поступлении напряжения от управляющего прибора, замок её блокирует и остается закрытым пока питание в наличии.

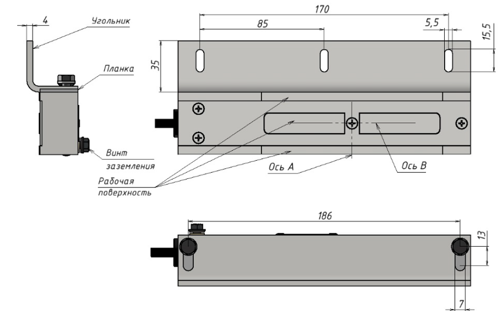
Конструктивно электромагнитный замок состоит из двух цельнометаллических фрезерованных частей – корпусной и якорной. Заливочный герметик защищен крышкой из нержавеющей стали. Габаритные размеры: корпус 200х43х27 мм, якоря 124х43х15 мм, масса замка 3.4 кг. Климатическое исполнение О1 согласно ГОСТ 15150, степень защиты от влаги и пыли IP65, температура эксплуатации от -60°С до +50°С. Эксплуатация в тяжелых условиях. Установка в любых помещениях, а также на улице. Питание DC 12 или 24В (определяется при заказе).

Замок модификации ALM-FM-M22-M оснащен четырехжильным кабелем длиной 2 метра и герметичным кабельным вводом для последующей прокладки кабеля в металлорукаве МРПИ-10.

Монтаж накладной. Корпус монтируется в верхней части дверной коробки напротив якоря, установленного на полотне. Важным условием для обеспечения максимального удерживающего усилия и длительного срока службы с заданными эксплуатационными характеристиками без проведения техобслуживания является обязательное соблюдение плотного прилегания рабочих плоскостей обеих частей при закрытом положении двери.

Подробное описание

Схема подключения ALM-FM-M22 ALEKO

 


Тип устройства накладной взрывозащищенный электромагнитный замок
Взрывозащитная маркировка 1Ex mb IIC T4 Gb X / Ex mb IIIC T80°C Db X
Локации взрывоопасные зоны класса 1, 21, 2 и 22, за исключением шахт
Усилие удержания 250 кг
Класс устойчивости U3 по ГОСТ Р 58822-2020
Режим нормально-открытый (NO)
Встроенные датчики отсутствуют
Напряжение питания DC 12B / 24В (определяется при заказе)
Габариты корпусной части 200х43х27 мм
Габариты якорной части 124х43х15 мм
Масса 3,4 кг
Степень защиты от влаги и пыли IP65
Климатическое исполнение О1 по ГОСТ 15150
Рабочая температура -60 °С...+50 °С
Присоединенный кабель четырехжильный длиной 2 м
Кабельный ввод герметичный, для прокладки кабеля в металлорукаве МРПИ-10
Монтаж в любых помещениях или на улице

Дополнительно

Взрывозащищенный электромагнитный замок
Электромагнитный замок для легких дверей/окон/шкафов/люков. Маркировка взрывозащиты 1Ex mb IIC T4 Gb X / Ex mb IIIC T80°C Db X, эксплуатация в зонах 1, 21, 2 и 22. Усилие на взлом = 100 кгс, класс устойчивости U0. Нормально-открытый, управляется внешним сигналом. Влагозащищенный, IP65, О1, рабочие температуры -60°С...+50°С. Накладной монтаж в любых помещениях или на улице. Четырехжильный кабель длиной 2 м, ввод для прокладки в металлорукаве МРПИ-10. Питание DC 12/24В (опция при заказе). Габариты: корпуса 140х36х22 мм, якоря 64х36х10,5 мм, масса 1.7 кг.
36 420 руб.
-+
В корзину
Взрывозащищенный электромагнитный замок
Электромагнитный замок для легких дверей. Маркировка взрывозащиты 1Ex mb IIC T4 Gb X / Ex mb IIIC T80°C Db X, эксплуатация в зонах 1, 21, 2 и 22. Усилие на взлом = 180 кгс, класс устойчивости U1. Нормально-открытый, управляется внешним сигналом. Влагозащищенный, IP65, О1, рабочие температуры -60°С...+50°С. Накладной монтаж в любых помещениях или на улице. Четырехжильный кабель длиной 2 м, ввод для прокладки в металлорукаве МРПИ-10. Питание DC 12/24В (опция при заказе). Габариты: корпуса 200х36х22 мм, якоря 124х36х15 мм, масса 2.6 кг.
41 340 руб.
-+
В корзину
Взрывозащищенный электромагнитный замок с датчиком Холла
Электромагнитный замок для легких дверей/окон/шкафов/люков. Маркировка взрывозащиты 1Ex mb IIC T4 Gb X / Ex mb IIIC T80°C Db X, эксплуатация в зонах 1, 21, 2 и 22. Усилие на взлом = 100 кгс, класс устойчивости U0. Нормально-открытый, управляется внешним сигналом, встроенный датчик контроля состояния замка (датчик Холла). Влагозащищенный, IP65, У1, рабочие температуры -40°С...+50°С. Накладной монтаж в любых помещениях или на улице. Четырехжильный кабель длиной 2 м, ввод для открытой прокладки кабеля. Питание DC 12/24В (опция при заказе). Габариты: корпуса 140х36х22 мм, якоря 64х36х10.5 мм, масса 1.7 кг.
42 980 руб.
-+
В корзину
Взрывозащищенный электромагнитный замок с датчиком Холла
Электромагнитный замок для легких дверей/окон/шкафов/люков. Маркировка взрывозащиты 1Ex mb IIC T4 Gb X / Ex mb IIIC T80°C Db X, эксплуатация в зонах 1, 21, 2 и 22. Усилие на взлом = 100 кгс, класс устойчивости U0. Нормально-открытый, управляется внешним сигналом, встроенный датчик контроля состояния замка (датчик Холла). Влагозащищенный, IP65, У1, рабочие температуры -40°С...+50°С. Накладной монтаж в любых помещениях или на улице. Четырехжильный кабель длиной 2 м, ввод для прокладки кабеля в трубе. Питание DC 12/24В (опция при заказе). Габариты: корпуса 140х36х22 мм, якоря 64х36х10.5 мм, масса 1.7 кг.
42 980 руб.
-+
В корзину
Взрывозащищенный электромагнитный замок с датчиком Холла
Электромагнитный замок для легких дверей/окон/шкафов/люков. Маркировка взрывозащиты 1Ex mb IIC T4 Gb X / Ex mb IIIC T80°C Db X, эксплуатация в зонах 1, 21, 2 и 22. Усилие на взлом = 100 кгс, класс устойчивости U0. Нормально-открытый, управляется внешним сигналом, встроенный датчик контроля состояния замка (датчик Холла). Влагозащищенный, IP65, У1, рабочие температуры -40°С...+50°С. Накладной монтаж в любых помещениях или на улице. Четырехжильный кабель длиной 2 м, ввод для прокладки бронированного кабеля. Питание DC 12/24В (опция при заказе). Габариты: корпуса 140х36х22 мм, якоря 64х36х10.5 мм, масса 1.7 кг.
46 530 руб.
-+
В корзину
Взрывозащищенный электромагнитный замок
Электромагнитный замок для легких дверей/окон/шкафов/люков. Маркировка взрывозащиты 1Ex mb IIC T4 Gb X / Ex mb IIIC T80°C Db X, эксплуатация в зонах 1, 21, 2 и 22. Усилие на взлом = 100 кгс, класс устойчивости U0. Нормально-открытый, управляется внешним сигналом. Влагозащищенный, IP65, О1, рабочие температуры -60°С...+50°С. Накладной монтаж в любых помещениях или на улице. Четырехжильный кабель длиной 2 м, ввод для прокладки бронированного кабеля. Питание DC 12/24В (опция при заказе). Габариты: корпуса 140х36х22 мм, якоря 64х36х10,5 мм, масса 1.7 кг.
39 980 руб.
-+
В корзину
Взрывозащищенный электромагнитный замок
Электромагнитный замок для легких дверей/окон/шкафов/люков. Маркировка взрывозащиты 1Ex mb IIC T4 Gb X / Ex mb IIIC T80°C Db X, эксплуатация в зонах 1, 21, 2 и 22. Усилие на взлом = 100 кгс, класс устойчивости U0. Нормально-открытый, управляется внешним сигналом. Влагозащищенный, IP65, О1, рабочие температуры -60°С...+50°С. Накладной монтаж в любых помещениях или на улице. Четырехжильный кабель длиной 2 м, ввод для прокладки кабеля в трубе. Питание DC 12/24В (опция при заказе). Габариты: корпуса 140х36х22 мм, якоря 64х36х10,5 мм, масса 1.7 кг.
36 420 руб.
-+
В корзину
Взрывозащищенный электромагнитный замок
Электромагнитный замок для легких дверей. Маркировка взрывозащиты 1Ex mb IIC T4 Gb X / Ex mb IIIC T80°C Db X, эксплуатация в зонах 1, 21, 2 и 22. Усилие на взлом = 180 кгс, класс устойчивости U1. Нормально-открытый, управляется внешним сигналом. Влагозащищенный, IP65, О1, рабочие температуры -60°С...+50°С. Накладной монтаж в любых помещениях или на улице. Четырехжильный кабель длиной 2 м, ввод для прокладки в трубе. Питание DC 12/24В (опция при заказе). Габариты: корпуса 200х36х22 мм, якоря 124х36х15 мм, масса 2.6 кг.
41 340 руб.
-+
В корзину
Взрывозащищенный электромагнитный замок
Электромагнитный замок для легких дверей. Маркировка взрывозащиты 1Ex mb IIC T4 Gb X / Ex mb IIIC T80°C Db X, эксплуатация в зонах 1, 21, 2 и 22. Усилие на взлом = 180 кгс, класс устойчивости U1. Нормально-открытый, управляется внешним сигналом. Влагозащищенный, IP65, О1, рабочие температуры -60°С...+50°С. Накладной монтаж в любых помещениях или на улице. Четырехжильный кабель длиной 2 м, ввод для открытой прокладки. Питание DC 12/24В (опция при заказе). Габариты: корпуса 200х36х22 мм, якоря 124х36х15 мм, масса 2.6 кг.
41 340 руб.
-+
В корзину
Взрывозащищенный электромагнитный замок
Электромагнитный замок для легких дверей. Маркировка взрывозащиты 1Ex mb IIC T4 Gb X / Ex mb IIIC T80°C Db X, эксплуатация в зонах 1, 21, 2 и 22. Усилие на взлом = 180 кгс, класс устойчивости U1. Нормально-открытый, управляется внешним сигналом. Влагозащищенный, IP65, О1, рабочие температуры -60°С...+50°С. Накладной монтаж в любых помещениях или на улице. Четырехжильный кабель длиной 2 м, ввод для бронированного кабеля. Питание DC 12/24В (опция при заказе). Габариты: корпуса 200х36х22 мм, якоря 124х36х15 мм, масса 2.6 кг.
44 920 руб.
-+
В корзину
Взрывозащищенный электромагнитный замок
Электромагнитный замок для дверей. Маркировка взрывозащиты 1Ex mb IIC T4 Gb X / Ex mb IIIC T80°C Db X, эксплуатация в зонах 1, 21, 2 и 22. Усилие на взлом = 250 кгс, класс устойчивости U3. Нормально-открытый, управляется внешним сигналом. Влагозащищенный, IP65, О1, рабочие температуры -60°С...+50°С. Накладной монтаж в любых помещениях или на улице. Четырехжильный кабель длиной 2 м, ввод для бронированного кабеля. Питание DC 12/24В (опция при заказе). Габариты: корпуса 200х43х27 мм, якоря 124х43х15 мм, масса 3.4 кг.
53 910 руб.
-+
В корзину
Взрывозащищенный электромагнитный замок с герконом
Электромагнитный замок для легких дверей. Маркировка взрывозащиты 1Ex mb IIC T4 Gb X / Ex mb IIIC T80°C Db X, эксплуатация в зонах 1, 21, 2 и 22. Усилие на взлом = 180 кгс, класс устойчивости U1. Нормально-открытый, управляется внешним сигналом, встроенный датчик контроля положения двери (геркон). Влагозащищенный, IP65, О1, рабочие температуры -60°С...+50°С. Накладной монтаж в любых помещениях или на улице. Четырехжильный кабель длиной 2 м, ввод для бронированного кабеля. Питание DC 12/24В (опция при заказе). Габариты: корпуса 200х36х22 мм, якоря 152х36х15 мм, масса 2.6 кг.
51 420 руб.
-+
В корзину
Взрывозащищенный электромагнитный замок с герконом
Электромагнитный замок для легких дверей. Маркировка взрывозащиты 1Ex mb IIC T4 Gb X / Ex mb IIIC T80°C Db X, эксплуатация в зонах 1, 21, 2 и 22. Усилие на взлом = 180 кгс, класс устойчивости U1. Нормально-открытый, управляется внешним сигналом, встроенный датчик контроля положения двери (геркон). Влагозащищенный, IP65, О1, рабочие температуры -60°С...+50°С. Накладной монтаж в любых помещениях или на улице. Четырехжильный кабель длиной 2 м, ввод для прокладки в металлорукаве МРПИ-10. Питание DC 12/24В (опция при заказе). Габариты: корпуса 200х36х22 мм, якоря 152х36х15 мм, масса 2.6 кг.
47 830 руб.
-+
В корзину
Взрывозащищенный электромагнитный замок с датчиком Холла
Электромагнитный замок для легких дверей. Маркировка взрывозащиты 1Ex mb IIC T4 Gb X / Ex mb IIIC T80°C Db X, эксплуатация в зонах 1, 21, 2 и 22. Усилие на взлом = 180 кгс, класс устойчивости U1. Нормально-открытый, управляется внешним сигналом, встроенный датчик контроля состояния замка (датчик Холла). Влагозащищенный, IP65, У1, рабочие температуры -40°С...+50°С. Накладной монтаж в любых помещениях или на улице. Четырехжильный кабель длиной 2 м, ввод для бронированного кабеля. Питание DC 12/24В (опция при заказе). Габариты: корпуса 200х36х22 мм, якоря 124х36х15 мм, масса 2.6 кг.
51 420 руб.
-+
В корзину
Взрывозащищенный электромагнитный замок
Электромагнитный замок для дверей. Маркировка взрывозащиты 1Ex mb IIC T4 Gb X / Ex mb IIIC T80°C Db X, эксплуатация в зонах 1, 21, 2 и 22. Усилие на взлом = 250 кгс, класс устойчивости U3. Нормально-открытый, управляется внешним сигналом. Влагозащищенный, IP65, О1, рабочие температуры -60°С...+50°С. Накладной монтаж в любых помещениях или на улице. Четырехжильный кабель длиной 2 м, ввод для открытой прокладки кабеля. Питание DC 12/24В (опция при заказе). Габариты: корпуса 200х43х27 мм, якоря 124х43х15 мм, масса 3.4 кг.
50 330 руб.
-+
В корзину
Взрывозащищенный электромагнитный замок
Электромагнитный замок для дверей. Маркировка взрывозащиты 1Ex mb IIC T4 Gb X / Ex mb IIIC T80°C Db X, эксплуатация в зонах 1, 21, 2 и 22. Усилие на взлом = 250 кгс, класс устойчивости U3. Нормально-открытый, управляется внешним сигналом. Влагозащищенный, IP65, О1, рабочие температуры -60°С...+50°С. Накладной монтаж в любых помещениях или на улице. Четырехжильный кабель длиной 2 м, ввод для прокладки в металлорукаве МРПИ-10. Питание DC 12/24В (опция при заказе). Габариты: корпуса 200х43х27 мм, якоря 124х43х15 мм, масса 3.4 кг.
50 330 руб.
-+
В корзину

Мы ценим вашу конфиденциальность

Мы используем файлы cookie, чтобы улучшить работу сайта, показывать персонализированную рекламу или контент и анализировать посещаемость. Продолжая использовать сайт, вы соглашаетесь на использование файлов cookie. Политика использования файлов cookie