Москва: +7 (495) 134-29-44
Санкт-Петербург: +7 (812) 213-07-12
Заказать звонок
МЕНЮКАТАЛОГ
ИНТЕРНЕТ-МАГАЗИН "СЕКТОР СБ" ПОСТАВКА СИСТЕМ БЕЗОПАСНОСТИ И СВЯЗИ
0Корзина пуста

ALM-FM-M22-G-K ALEKO Взрывозащищенный электромагнитный замок с герконом

ALM-FM-M22-G-K Взрывозащищенный электромагнитный замок с герконом
Взрывозащищенный электромагнитный замок с герконом ALM-FM-M22-G-K
Взрывозащищенный электромагнитный замок с герконом ALM-FM-M22-G-K
Артикул: sb29259
Производитель: ALEKO
Розничная цена:56 760 ₽/шт.
Оптовая цена:56 760 ₽/шт.

Доставка: по всей России (со склада в Москве или Санкт-Петербурге)

Задайте вопросы менеджеру:

Москва: +7 (495) 134-29-44

СПб: +7 (812) 213-07-12

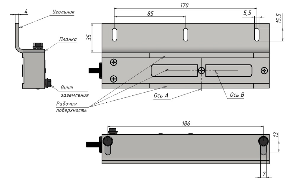
Взрывозащищенный электромагнитный замок ALM-FM-M22-G-K производства российской компании ALEKO используется при построении СКУД или ОПС во взрывоопасных зонах. Замок служит для надежной блокировки дверей. Взрывозащитная маркировка 1Ex mb IIC T4 Gb X / Ex mb IIIC T80°C Db X. Допускается эксплуатация в опасных по взрывам локациях классов 1, 21, 2 и 22, за исключением шахт, опасных по рудничному газу и/или горючей пыли.

Выдерживает усилие на взлом 250 кгс, класс U2 согласно ГОСТ Р 58822-2020. Нормально-открытый, без питания замка дверь находится в свободном состоянии, но при поступлении напряжения от управляющего прибора, замок её блокирует и остается закрытым пока питание в наличии. Встроенный датчик контроля положения двери (геркон) мониторит ее состояние (открыта или закрыта) и передает данные на контрольный блок, что удобно при создании системы подсчета проходов. Также, геркон выполняет функцию тревожного извещения при фиксации некорректной работы двери или самого замка.

Конструктивно электромагнитный замок состоит из двух цельнометаллических фрезерованных частей – корпусной и якорной. Заливочный герметик защищен крышкой из нержавеющей стали. Габаритные размеры: корпус 200х43х27 мм, якоря 152х43х15 мм, масса замка 3.4 кг. Климатическое исполнение О1 согласно ГОСТ 15150, степень защиты от влаги и пыли IP65, температура эксплуатации от -60°С до +50°С. Эксплуатация в тяжелых условиях. Установка в любых помещениях, а также на улице. Питание DC 12 или 24В (определяется при заказе).

Замок модификации ALM-FM-M22-G-K оснащен четырехжильным кабелем длиной 2 метра и герметичным кабельным вводом для последующей открытой прокладки кабеля.

Монтаж накладной. Корпус монтируется в верхней части дверной коробки напротив якоря, установленного на полотне. Важным условием для обеспечения максимального удерживающего усилия и длительного срока службы с заданными эксплуатационными характеристиками без проведения техобслуживания является обязательное соблюдение плотного прилегания рабочих плоскостей обеих частей при закрытом положении двери.

Подробное описание

Схема подключения ALM-FM-M22-H/G ALEKO

 


Тип устройства накладной взрывозащищенный электромагнитный замок
Взрывозащитная маркировка 1Ex mb IIC T4 Gb X / Ex mb IIIC T80°C Db X
Локации взрывоопасные зоны класса 1, 21, 2 и 22, за исключением шахт
Усилие удержания 250 кг
Класс устойчивости U2 по ГОСТ Р 58822-2020
Режим нормально-открытый (NO)
Встроенный датчик есть, магнитоконтактный извещатель (геркон), параметры см. в руководстве
Напряжение питания DC 12B / 24В (определяется при заказе)
Габариты корпусной части 200х43х27 мм
Габариты якорной части 152х43х15 мм
Масса 3,4 кг
Степень защиты от влаги и пыли IP65
Климатическое исполнение О1 по ГОСТ 15150
Рабочая температура -60 °С...+50 °С
Присоединенный кабель четырехжильный длиной 2 м
Кабельный ввод герметичный, для открытой прокладки кабеля
Монтаж в любых помещениях или на улице

Дополнительно

Взрывозащищенный электромагнитный замок
Электромагнитный замок для легких дверей/окон/шкафов/люков. Маркировка взрывозащиты 1Ex mb IIC T4 Gb X / Ex mb IIIC T80°C Db X, эксплуатация в зонах 1, 21, 2 и 22. Усилие на взлом = 100 кгс, класс устойчивости U0. Нормально-открытый, управляется внешним сигналом. Влагозащищенный, IP65, О1, рабочие температуры -60°С...+50°С. Накладной монтаж в любых помещениях или на улице. Четырехжильный кабель длиной 2 м, ввод для прокладки в металлорукаве МРПИ-10. Питание DC 12/24В (опция при заказе). Габариты: корпуса 140х36х22 мм, якоря 64х36х10,5 мм, масса 1.7 кг.
36 420 руб.
-+
В корзину
Взрывозащищенный электромагнитный замок
Электромагнитный замок для легких дверей. Маркировка взрывозащиты 1Ex mb IIC T4 Gb X / Ex mb IIIC T80°C Db X, эксплуатация в зонах 1, 21, 2 и 22. Усилие на взлом = 180 кгс, класс устойчивости U1. Нормально-открытый, управляется внешним сигналом. Влагозащищенный, IP65, О1, рабочие температуры -60°С...+50°С. Накладной монтаж в любых помещениях или на улице. Четырехжильный кабель длиной 2 м, ввод для прокладки в металлорукаве МРПИ-10. Питание DC 12/24В (опция при заказе). Габариты: корпуса 200х36х22 мм, якоря 124х36х15 мм, масса 2.6 кг.
41 340 руб.
-+
В корзину
Взрывозащищенный электромагнитный замок
Электромагнитный замок для легких дверей/окон/шкафов/люков. Маркировка взрывозащиты 1Ex mb IIC T4 Gb X / Ex mb IIIC T80°C Db X, эксплуатация в зонах 1, 21, 2 и 22. Усилие на взлом = 100 кгс, класс устойчивости U0. Нормально-открытый, управляется внешним сигналом. Влагозащищенный, IP65, О1, рабочие температуры -60°С...+50°С. Накладной монтаж в любых помещениях или на улице. Четырехжильный кабель длиной 2 м, ввод для прокладки бронированного кабеля. Питание DC 12/24В (опция при заказе). Габариты: корпуса 140х36х22 мм, якоря 64х36х10,5 мм, масса 1.7 кг.
39 980 руб.
-+
В корзину
Взрывозащищенный электромагнитный замок
Электромагнитный замок для легких дверей. Маркировка взрывозащиты 1Ex mb IIC T4 Gb X / Ex mb IIIC T80°C Db X, эксплуатация в зонах 1, 21, 2 и 22. Усилие на взлом = 180 кгс, класс устойчивости U1. Нормально-открытый, управляется внешним сигналом. Влагозащищенный, IP65, О1, рабочие температуры -60°С...+50°С. Накладной монтаж в любых помещениях или на улице. Четырехжильный кабель длиной 2 м, ввод для прокладки в трубе. Питание DC 12/24В (опция при заказе). Габариты: корпуса 200х36х22 мм, якоря 124х36х15 мм, масса 2.6 кг.
41 340 руб.
-+
В корзину
Взрывозащищенный электромагнитный замок
Электромагнитный замок для дверей. Маркировка взрывозащиты 1Ex mb IIC T4 Gb X / Ex mb IIIC T80°C Db X, эксплуатация в зонах 1, 21, 2 и 22. Усилие на взлом = 250 кгс, класс устойчивости U2. Нормально-открытый, управляется внешним сигналом. Влагозащищенный, IP65, О1, рабочие температуры -60°С...+50°С. Накладной монтаж в любых помещениях или на улице. Четырехжильный кабель длиной 2 м, ввод для бронированного кабеля. Питание DC 12/24В (опция при заказе). Габариты: корпуса 200х43х27 мм, якоря 124х43х15 мм, масса 3.4 кг.
53 910 руб.
-+
В корзину
Взрывозащищенный электромагнитный замок с герконом
Электромагнитный замок для легких дверей. Маркировка взрывозащиты 1Ex mb IIC T4 Gb X / Ex mb IIIC T80°C Db X, эксплуатация в зонах 1, 21, 2 и 22. Усилие на взлом = 180 кгс, класс устойчивости U1. Нормально-открытый, управляется внешним сигналом, встроенный датчик контроля положения двери (геркон). Влагозащищенный, IP65, О1, рабочие температуры -60°С...+50°С. Накладной монтаж в любых помещениях или на улице. Четырехжильный кабель длиной 2 м, ввод для бронированного кабеля. Питание DC 12/24В (опция при заказе). Габариты: корпуса 200х36х22 мм, якоря 152х36х15 мм, масса 2.6 кг.
51 420 руб.
-+
В корзину
Взрывозащищенный электромагнитный замок с герконом
Электромагнитный замок для легких дверей. Маркировка взрывозащиты 1Ex mb IIC T4 Gb X / Ex mb IIIC T80°C Db X, эксплуатация в зонах 1, 21, 2 и 22. Усилие на взлом = 180 кгс, класс устойчивости U1. Нормально-открытый, управляется внешним сигналом, встроенный датчик контроля положения двери (геркон). Влагозащищенный, IP65, О1, рабочие температуры -60°С...+50°С. Накладной монтаж в любых помещениях или на улице. Четырехжильный кабель длиной 2 м, ввод для прокладки в металлорукаве МРПИ-10. Питание DC 12/24В (опция при заказе). Габариты: корпуса 200х36х22 мм, якоря 152х36х15 мм, масса 2.6 кг.
47 830 руб.
-+
В корзину
Взрывозащищенный электромагнитный замок с датчиком Холла
Электромагнитный замок для легких дверей. Маркировка взрывозащиты 1Ex mb IIC T4 Gb X / Ex mb IIIC T80°C Db X, эксплуатация в зонах 1, 21, 2 и 22. Усилие на взлом = 180 кгс, класс устойчивости U1. Нормально-открытый, управляется внешним сигналом, встроенный датчик контроля состояния замка (датчик Холла). Влагозащищенный, IP65, У1, рабочие температуры -40°С...+50°С. Накладной монтаж в любых помещениях или на улице. Четырехжильный кабель длиной 2 м, ввод для бронированного кабеля. Питание DC 12/24В (опция при заказе). Габариты: корпуса 200х36х22 мм, якоря 124х36х15 мм, масса 2.6 кг.
51 420 руб.
-+
В корзину
Взрывозащищенный электромагнитный замок
Электромагнитный замок для дверей. Маркировка взрывозащиты 1Ex mb IIC T4 Gb X / Ex mb IIIC T80°C Db X, эксплуатация в зонах 1, 21, 2 и 22. Усилие на взлом = 250 кгс, класс устойчивости U2. Нормально-открытый, управляется внешним сигналом. Влагозащищенный, IP65, О1, рабочие температуры -60°С...+50°С. Накладной монтаж в любых помещениях или на улице. Четырехжильный кабель длиной 2 м, ввод для открытой прокладки кабеля. Питание DC 12/24В (опция при заказе). Габариты: корпуса 200х43х27 мм, якоря 124х43х15 мм, масса 3.4 кг.
50 330 руб.
-+
В корзину
Взрывозащищенный электромагнитный замок
Электромагнитный замок для дверей. Маркировка взрывозащиты 1Ex mb IIC T4 Gb X / Ex mb IIIC T80°C Db X, эксплуатация в зонах 1, 21, 2 и 22. Усилие на взлом = 250 кгс, класс устойчивости U2. Нормально-открытый, управляется внешним сигналом. Влагозащищенный, IP65, О1, рабочие температуры -60°С...+50°С. Накладной монтаж в любых помещениях или на улице. Четырехжильный кабель длиной 2 м, ввод для прокладки в металлорукаве МРПИ-10. Питание DC 12/24В (опция при заказе). Габариты: корпуса 200х43х27 мм, якоря 124х43х15 мм, масса 3.4 кг.
50 330 руб.
-+
В корзину
Взрывозащищенный электромагнитный замок с датчиком Холла
Электромагнитный замок для дверей. Маркировка взрывозащиты 1Ex mb IIC T4 Gb X / Ex mb IIIC T80°C Db X, эксплуатация в зонах 1, 21, 2 и 22. Усилие на взлом = 250 кгс, класс устойчивости U2. Нормально-открытый, управляется внешним сигналом, встроенный датчик контроля состояния замка (датчик Холла). Влагозащищенный, IP65, У1, рабочие температуры -40°С...+50°С. Накладной монтаж в любых помещениях или на улице. Четырехжильный кабель длиной 2 м, ввод для прокладки в металлорукаве МРПИ-10. Питание DC 12/24В (опция при заказе). Габариты: корпуса 200х43х27 мм, якоря 124х43х15 мм, масса 3.4 кг.
56 760 руб.
-+
В корзину
Взрывозащищенный электромагнитный замок
Электромагнитный замок для дверей. Маркировка взрывозащиты 1Ex mb IIC T4 Gb X / Ex mb IIIC T80°C Db X, эксплуатация в зонах 1, 21, 2 и 22. Усилие на взлом = 250 кгс, класс устойчивости U2. Нормально-открытый, управляется внешним сигналом. Влагозащищенный, IP65, О1, рабочие температуры -60°С...+50°С. Накладной монтаж в любых помещениях или на улице. Четырехжильный кабель длиной 2 м, ввод для прокладки в трубе. Питание DC 12/24В (опция при заказе). Габариты: корпуса 200х43х27 мм, якоря 124х43х15 мм, масса 3.4 кг.
50 330 руб.
-+
В корзину
Взрывозащищенный электромагнитный замок с герконом
Электромагнитный замок для дверей. Маркировка взрывозащиты 1Ex mb IIC T4 Gb X / Ex mb IIIC T80°C Db X, эксплуатация в зонах 1, 21, 2 и 22. Усилие на взлом = 250 кгс, класс устойчивости U2. Нормально-открытый, управляется внешним сигналом, встроенный датчик контроля положения двери (геркон). Влагозащищенный, IP65, О1, рабочие температуры -60°С...+50°С. Накладной монтаж в любых помещениях или на улице. Четырехжильный кабель длиной 2 м, ввод для прокладки в металлорукаве МРПИ-10. Питание DC 12/24В (опция при заказе). Габариты: корпуса 200х43х27 мм, якоря 152х43х15 мм, масса 3.4 кг.
56 760 руб.
-+
В корзину
Взрывозащищенный электромагнитный замок с датчиком Холла
Электромагнитный замок для дверей. Маркировка взрывозащиты 1Ex mb IIC T4 Gb X / Ex mb IIIC T80°C Db X, эксплуатация в зонах 1, 21, 2 и 22. Усилие на взлом = 250 кгс, класс устойчивости U2. Нормально-открытый, управляется внешним сигналом, встроенный датчик контроля состояния замка (датчик Холла). Влагозащищенный, IP65, У1, рабочие температуры -40°С...+50°С. Накладной монтаж в любых помещениях или на улице. Четырехжильный кабель длиной 2 м, ввод для прокладки бронированного кабеля. Питание DC 12/24В (опция при заказе). Габариты: корпуса 200х43х27 мм, якоря 124х43х15 мм, масса 3.4 кг.
56 760 руб.
-+
В корзину
Взрывозащищенный электромагнитный замок с датчиком Холла
Электромагнитный замок для дверей. Маркировка взрывозащиты 1Ex mb IIC T4 Gb X / Ex mb IIIC T80°C Db X, эксплуатация в зонах 1, 21, 2 и 22. Усилие на взлом = 250 кгс, класс устойчивости U2. Нормально-открытый, управляется внешним сигналом, встроенный датчик контроля состояния замка (датчик Холла). Влагозащищенный, IP65, У1, рабочие температуры -40°С...+50°С. Накладной монтаж в любых помещениях или на улице. Четырехжильный кабель длиной 2 м, ввод для прокладки в трубе. Питание DC 12/24В (опция при заказе). Габариты: корпуса 200х43х27 мм, якоря 124х43х15 мм, масса 3.4 кг.
56 760 руб.
-+
В корзину
Взрывозащищенный электромагнитный замок с датчиком Холла
Электромагнитный замок для дверей. Маркировка взрывозащиты 1Ex mb IIC T4 Gb X / Ex mb IIIC T80°C Db X, эксплуатация в зонах 1, 21, 2 и 22. Усилие на взлом = 250 кгс, класс устойчивости U2. Нормально-открытый, управляется внешним сигналом, встроенный датчик контроля состояния замка (датчик Холла). Влагозащищенный, IP65, У1, рабочие температуры -40°С...+50°С. Накладной монтаж в любых помещениях или на улице. Четырехжильный кабель длиной 2 м, ввод для открытой прокладки. Питание DC 12/24В (опция при заказе). Габариты: корпуса 200х43х27 мм, якоря 124х43х15 мм, масса 3.4 кг.
56 760 руб.
-+
В корзину
Взрывозащищенный электромагнитный замок с герконом
Электромагнитный замок для дверей. Маркировка взрывозащиты 1Ex mb IIC T4 Gb X / Ex mb IIIC T80°C Db X, эксплуатация в зонах 1, 21, 2 и 22. Усилие на взлом = 250 кгс, класс устойчивости U2. Нормально-открытый, управляется внешним сигналом, встроенный датчик контроля положения двери (геркон). Влагозащищенный, IP65, О1, рабочие температуры -60°С...+50°С. Накладной монтаж в любых помещениях или на улице. Четырехжильный кабель длиной 2 м, ввод для открытой прокладки. Питание DC 12/24В (опция при заказе). Габариты: корпуса 200х43х27 мм, якоря 152х43х15 мм, масса 3.4 кг.
56 760 руб.
-+
В корзину

Мы ценим вашу конфиденциальность

Мы используем файлы cookie, чтобы улучшить работу сайта, показывать персонализированную рекламу или контент и анализировать посещаемость. Продолжая использовать сайт, вы соглашаетесь на использование файлов cookie. Политика использования файлов cookie